公开方式:
主动公开
有效期:
长期有效
公开时限:
长期公开
公开范围:
面向全社会
信息索取号:
014554178/2025-26359
珠山区2025年食品生产经营监督检查结果信息公示第二期
来源:珠山区市场监督管理局
发布时间:2025-12-18 11:23
访问量:
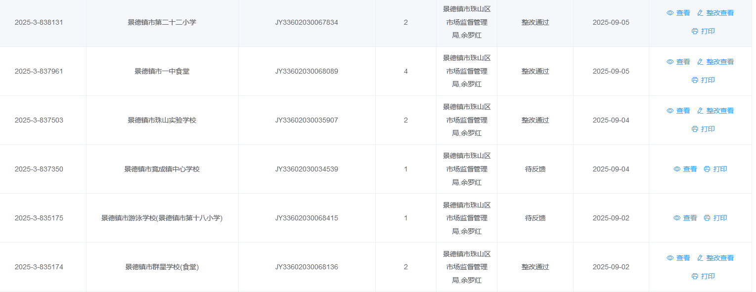
根据校园食品安全排查整治深化行动的工作要求,2025年秋季开学以来,我区运用“赣溯源”平台对辖区内校园食品安全开展专项检查,现将检查结果公布如下:





赣公网安备 36020002000154 号