公开方式:
主动公开
有效期:
长期有效
公开时限:
长期公开
公开范围:
面向全社会
信息索取号:
014554178/2022-74283
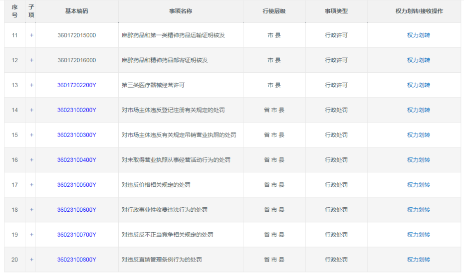
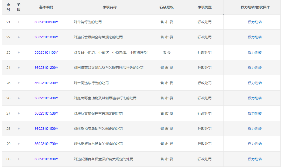
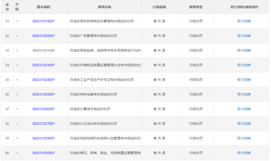
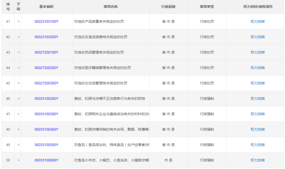
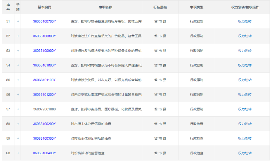
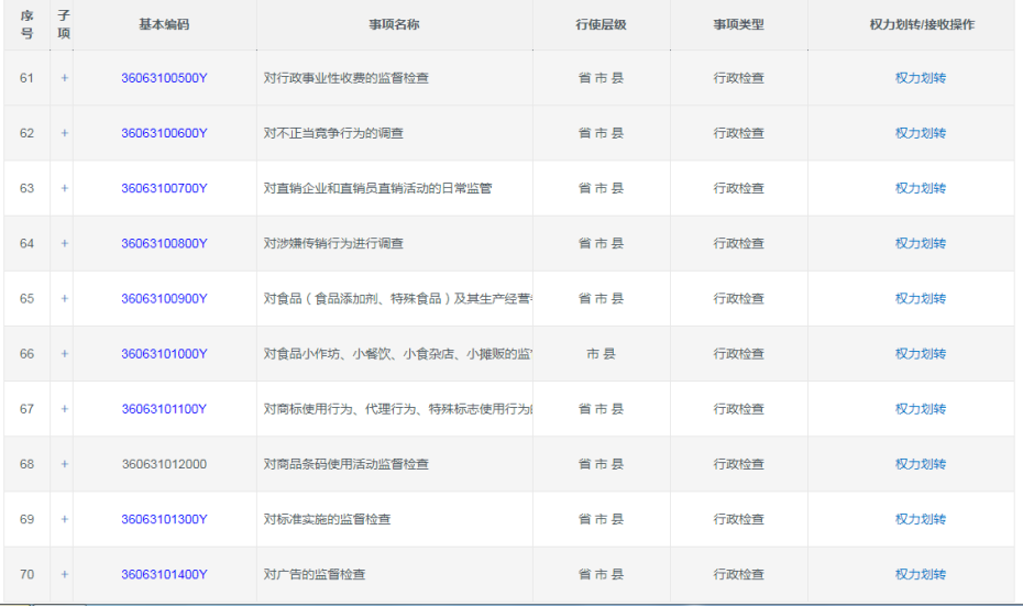
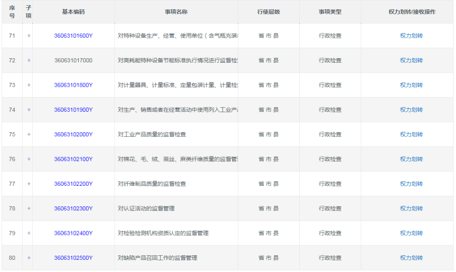
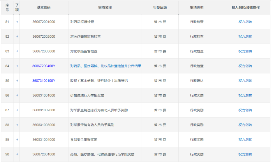
珠山区市场监督管理局行政权力清单(2022年5月)
来源:珠山区市场监督管理局
发布时间:2022-05-05 15:55
访问量:













赣公网安备 36020002000154 号