页面
大
小
配色
无
字
字
字
字
辅助线
开
指读
开
纯文本
开
重置
关闭
微博
微信
联系我们
网站无障碍
适老版
简
繁
首 页
区政府
政务公开
办事服务
政民互动
数据开放
走进珠山
当前位置:
首页
>
区市场监管局
>
食品药品监管
公开方式:
主动公开
有效期:
长期有效
公开时限:
长期公开
公开范围:
面向全社会
信息索取号:
014554178/2024-15291
珠山区2024年食品生产经营监督检查结果信息公示第一期
来源:珠山区市场监督管理局
发布时间:2024-07-31 16:13
访问量:
珠山区202
4
年食品生产经营监督检查结果信息公示
第一期
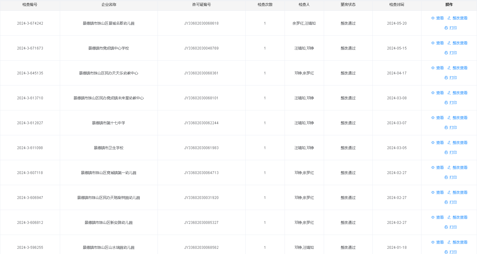
根据校园食品安全排查整治深化行动的工作要求,202
4
年以来,我区运用“赣溯源”平台对辖区内校园食品安全开展专项检查,现将检查结果公布如下:
关联导读:
附件:
976608
珠山区2024年食品生产经营监督检查结果信息公示第一期
20
珠山区市场监督管理局
2024-07-31
14797
食品药品监管