当前位置: 首页 > 区市场监管局 > 食品药品监管
公开方式: 主动公开 有效期: 长期有效 公开时限: 长期公开 公开范围: 面向全社会 信息索取号: 014554178/2023-45132
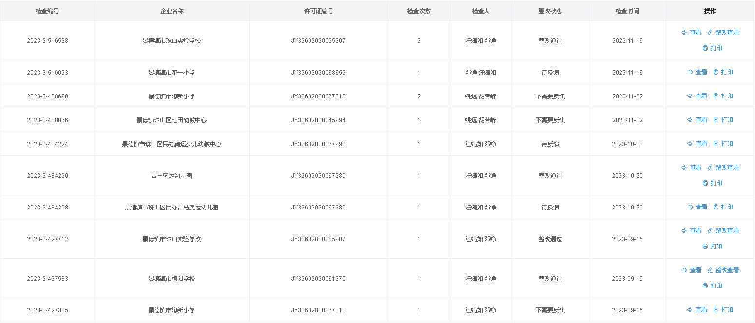
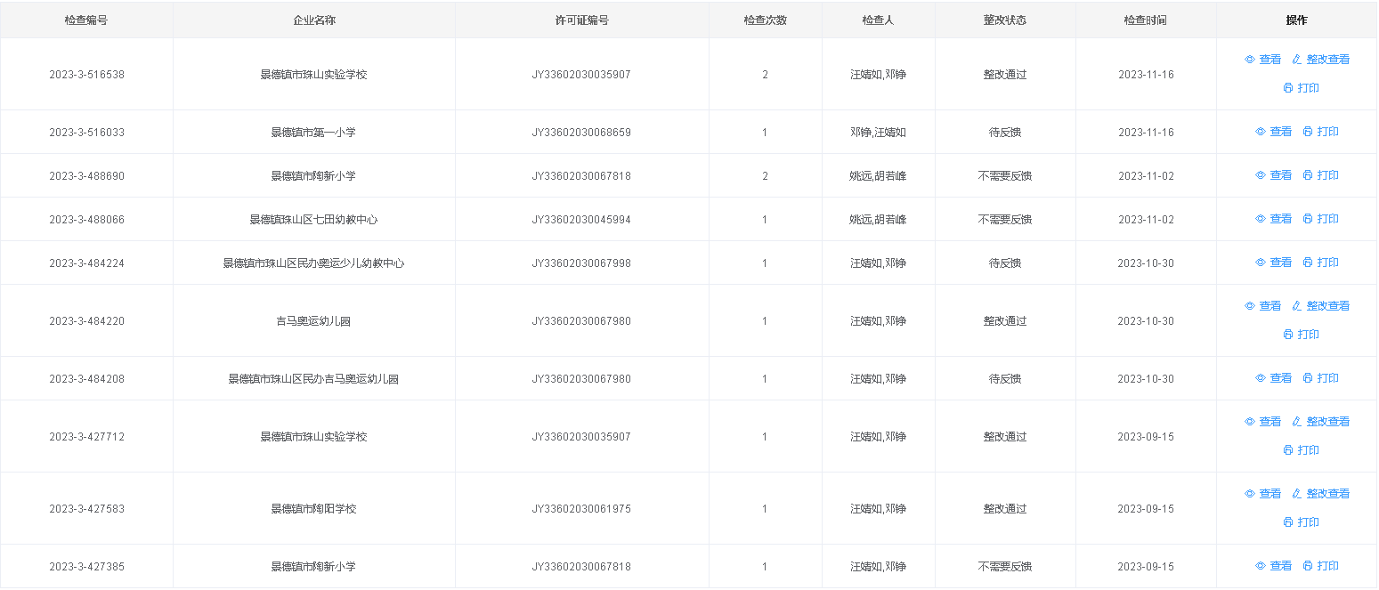
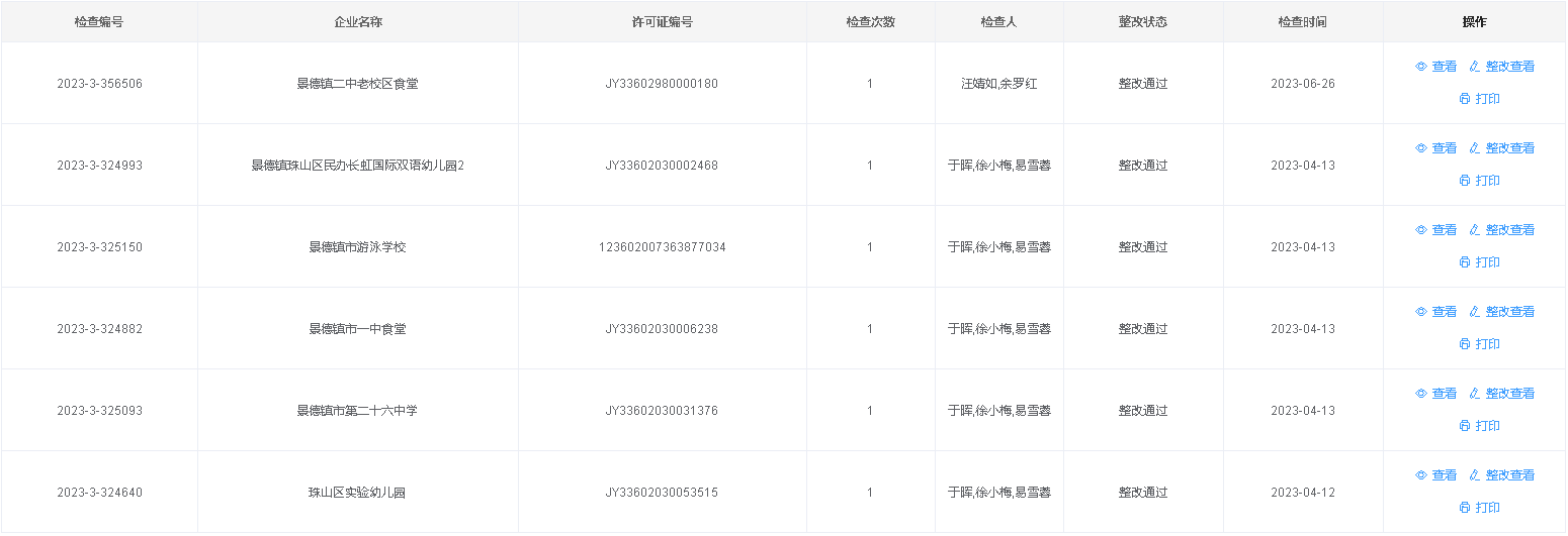
珠山区2023年食品生产经营监督检查结果信息公示
来源:珠山区市场监督管理局 发布时间:2023-11-27 17:19 访问量:

珠山区2023年食品生产经营监督检查结果信息公示

根据景德镇市市场监管局关于印发《全市校园食品安全治理提升行动方案》的通知工作要求,2023年我区运用“赣溯源”平台对辖区内校园食品安全开展专项检查,现将检查结果公布如下: